
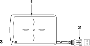
No. | Name | Description |
|---|---|---|
1 | Card reading area | Reads the IC card held over for registration or authentication. |
2 | USB cable | Connected to the USB port of the main body. |
3 | Status LED | Yellow green: The machine operates normally Orange: Communication not available Red: Machine trouble |
Authentication Unit AU-201S is an optional device. The marketing and authorization to use this product are provided entirely on an "as is" basis.
We assume no responsibility for any damage (including lost profits or other related damages) caused by this product or its use as a result of operations not described in this user's guide.
This product is designed, manufactured and intended for general business use. Do not use it for applications requiring high reliability, which may have an extreme impact on lives and property.
Applications requiring high reliability: chemical plant management, medical equipment management, emergency communications management, etc.
The use with other authentication devices is not guaranteed.
In order to incorporate improvements in the product, specifications concerning this product are subject to change without notice.
Do not store the IC card within 40 mm / 1.57" of the card scanning area.