Adjust the double parallel folding position of Folding Unit FD-503.
Objects of Adjustment: Offset for All Size, A3 short edge feed, B4 short edge feed, SRA4 short edge feed, A4 short edge feed, 12 18 short edge feed, 11 17 short edge feed, 8.5 14 short edge feed, 8.5 11 short edge feed, 8K short edge feed, Custom(380~458 mm), Custom(279~379 mm)
When adjusting both Fold 1 and Fold 2, be sure to start with the Fold 1 adjustment.
If a numeric value is specified for Offset for All Size, it is applied to all paper sizes. With a specific paper size selected,the set value becomes the sum of the entered value and the value previously specified for Offset for All Size.
Press Adjustment on the MACHINE screen to display the Adjustment Menu screen.
Press Finisher Adjustment, Multi Folder Adjustment, Multi Folder(Fold) Adj., and Double Parallel Pos. Adj. in sequence.
Select the size to be adjusted using down or up.
Press Print Mode.
Load the paper with the size to be adjusted, then select that tray.
Press Start on the control panel.
A sample pattern will be output.
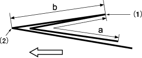
Measure the lengths (a) and (b) of the printed paper.
Allowance: a ± 1.5 mm, b ± 1.5 mm
Paper Size | a | b |
|---|---|---|
A3 short edge feed | 208.5 mm | 103.8 mm |
B4 short edge feed | 180.5 mm | 89.8 mm |
SRA4 short edge feed | 158.5 mm | 78.7 mm |
A4 short edge feed | 147.0 mm | 73.0 mm |
12 18 short edge feed | 227.1 mm | 113.1 mm |
11 17 short edge feed | 214.4 mm | 106.7 mm |
8.5 14 short edge feed | 176.3 mm | 87.7 mm |
8.5 11 short edge feed | 138.2 mm | 68.6 mm |
8K short edge feed | 193.5 mm | 96.3 mm |
(1) Fold 1 / (2) Fold 2
If any adjustment is required, press Exit PrintMode to return to the Double Parallel Pos. Adj. screen.
Select Fold 1, and then use the touch panel keypad to enter the set value.
Adj. Range: -50~+50 1 step = 0.1 mm
Fold 1: To narrow [-] <-> [+] To widen
supplementary explanationUse +/- to specify the value to be positive or negative.
supplementary explanationPress Set to change the Current Value.

Select Fold 2, and then use the touch panel keypad to enter the set value.
Adj. Range: -50~+50 1 step = 0.1 mm
Fold 2: To narrow [-] <-> [+] To widen
supplementary explanationUse +/- to specify the value to be positive or negative.
supplementary explanationPress Set to change the Current Value.

Repeat steps 4 to 10 until the desired result is obtained.
Press Return.
The screen returns to the Multi Folder(Fold) Adj. Menu screen.